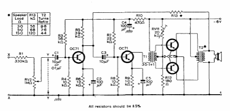
This old amplifier uses germanium transistors from the time. The circuit is from a Mullard transistors manual from 1960. Power is supplied with 6 V.

This old amplifier uses germanium transistors from the time. The circuit is from a Mullard transistors manual from 1960. Power is supplied with 6 V.
