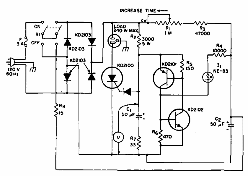
This circuit was found in a 1967 RCA documentation. The semiconductor components are from the time, and modern equivalents can be tried.
This touch switch uses components that have easy-to-obtain current equivalents. The power supply...
After starting, this circuit turns off the relay in a time that depends on the 4020 pulse-count. This...
Connected to the output of a small amplifier or receiver, this circuit triggers a relay in the...