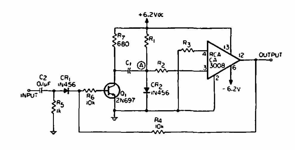
Found in a 1967 American documentation, this circuit produces a pulse with a delay that depends on the components used. The operational is from the time.
This circuit converts pulse frequency to current, which is indicated on an analog instrument. The...
Based on an LM317T, this circuit found in Popular Electronics works with signals of frequencies up to...
The Texas Instruments LM5178 Buck-boost controller is capable of operating in the 4.2 to 55 V (60...