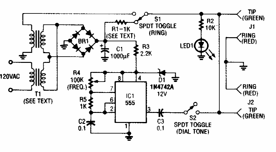
Found in an older Radio Electronics, this circuit generates signals that can be used with regular analog telephones.
We found this circuit in the Electronics Experimenter Handbook 1983 edition. The circuit uses...
This little-known regulator today was found in a Radio Electronics circuit from December 1978. The...
This circuit was obtained in a 1982 Maplin magazine. The circuit can be applied to equivalent power...