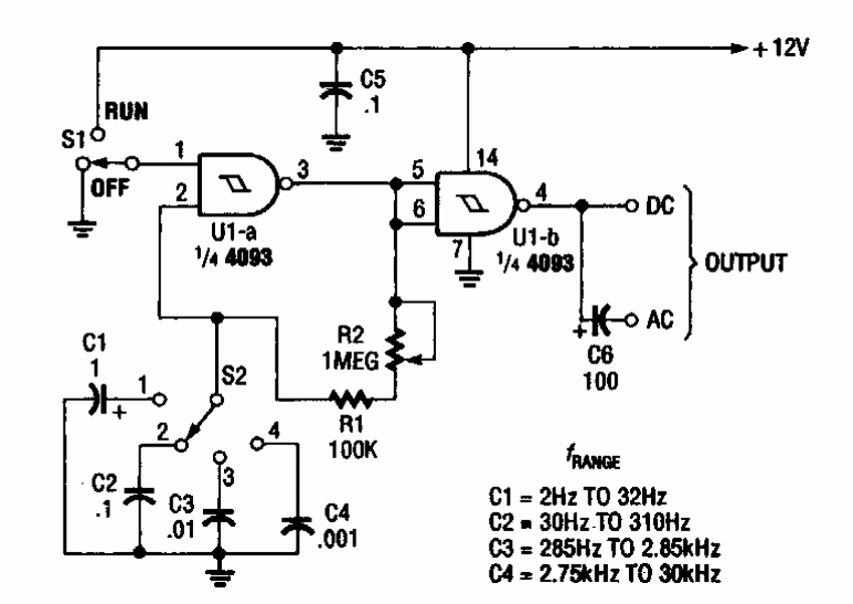
This circuit was found in a Popular Electronics from the 90s. The circuit has 4 frequency ranges selected according to the capacitors. Signal is rectangular.
This astable multivibrator configuration causes two LEDs to alternately flash at a frequency...
In the figure we show our first circuit that consists of a simple touch switch capable of driving a...
This electromyography monitor is from a 1978 publication on operational amplifiers. The components are...