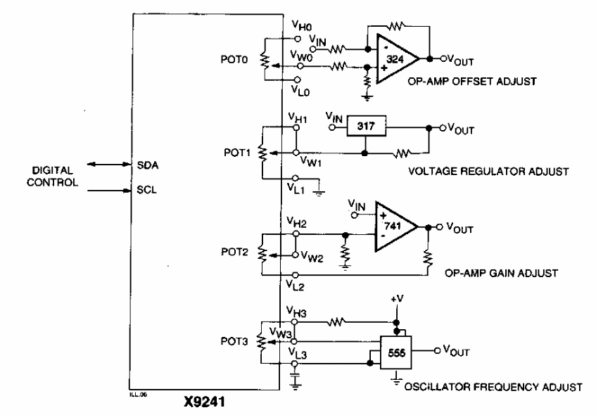
Found in an old Xicor documentation, this circuit makes use of an X9241, which contains four digitally controlled analog potentiometers.
This lamp flasher configuration using an astable multivibrator is from a 1968 publication. The...
When the voltage in the circuit exceeds the value set in the trimpot, the LED goes off and, if a...
The maximum input voltage of this circuit is 20V and the output current is 250 mA. The circuit is from...