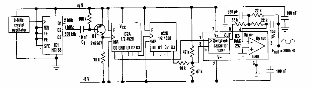
Found in an Electronic Design from the 1990s, this circuit generates signals from 500 kHz to 1 MHz that are digitally synthesized to provide a sinusoidal output.
This astable multivibrator configuration causes two LEDs to alternately flash at a frequency...
In the figure we show our first circuit that consists of a simple touch switch capable of driving a...
This electromyography monitor is from a 1978 publication on operational amplifiers. The components are...