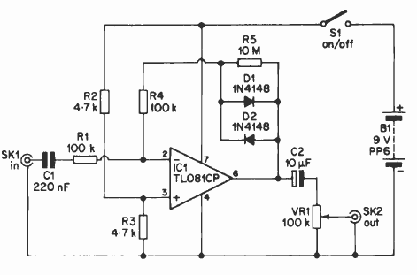
This simple guitar distortion effect was found in a documentation from the 90's. The circuit is current and equivalent operational amplifiers can be used.

This simple guitar distortion effect was found in a documentation from the 90's. The circuit is current and equivalent operational amplifiers can be used.
