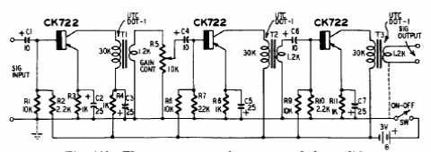
This circuit with transformer coupling was found in an American documentation from the 50's. There are 3 stages with common emitter configuration.

This circuit with transformer coupling was found in an American documentation from the 50's. There are 3 stages with common emitter configuration.
