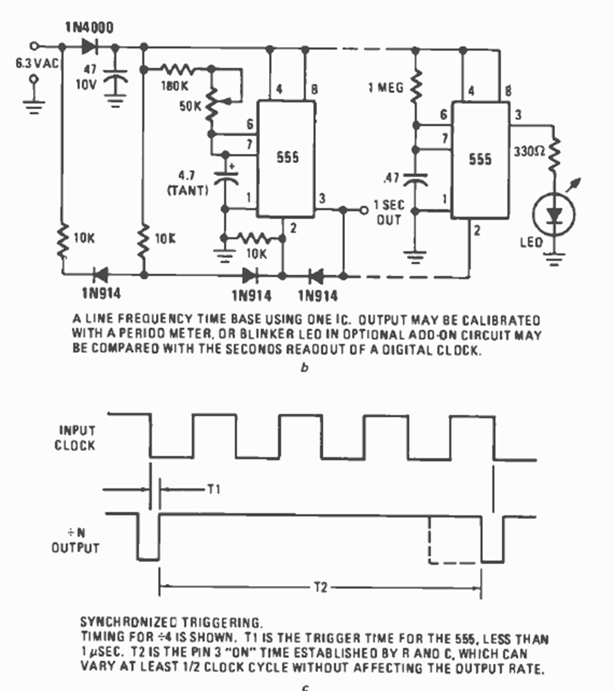
This mains-synchronized circuit produces a simple 1 pulse per second. The circuit is from a Radio Electronics magazine from May 1977.
For those who like experimental circuits, here is a sequential flasher system with LEDs, which can be...
This circuit can be used in broilers, greenhouses, drying chambers to regulate the temperature in a simple...
This circuit consists of an electrostatic sensor that can check if a cable is energized by simply...