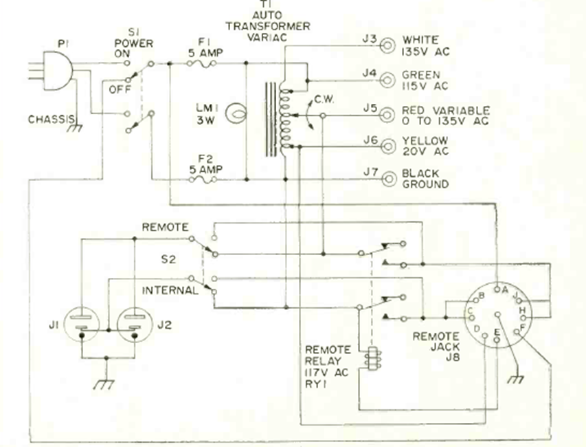
This is a very useful autotransformer circuit on the bench. We found it in the September 1970 Radio Elecronics magazine. The transformer must be according to what you want to feed at the output.
Using neon lamps, this regulator was found in a1969’s documentation. The lamps are types available...
In the figure we have the power supply for the 8 W amplifier in the previous circuit. The circuit...
We found this circuit in the April 1988 issue of Radio Electronics magazine. The circuit can be...