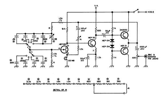
In the figure we have an improved version of the previous version (CB3913E) with the use of a junction FET and a network of resistors for frequency selection. The circuit is from an old American documentation. Transistors allow equivalents.

In the figure we have an improved version of the previous version (CB3913E) with the use of a junction FET and a network of resistors for frequency selection. The circuit is from an old American documentation. Transistors allow equivalents.
