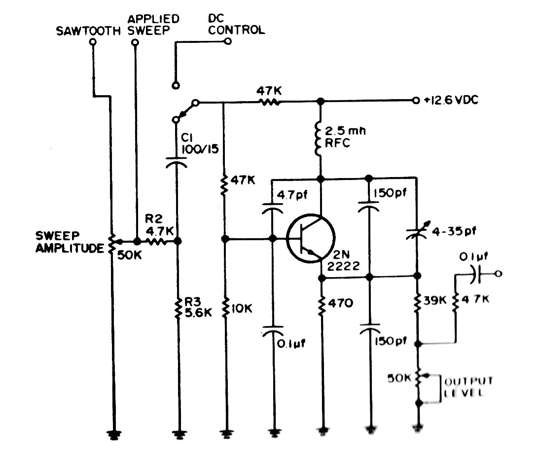
This circuit is primarily intended for the calibration of common radio IF steps using the oscilloscope. The circuit is from an old American documentation. Power can be supplied with batteries or power supply. Consumption is low.
This circuit is primarily intended for the calibration of common radio IF steps using the oscilloscope. The circuit is from an old American documentation. Power can be supplied with batteries or power supply. Consumption is low.