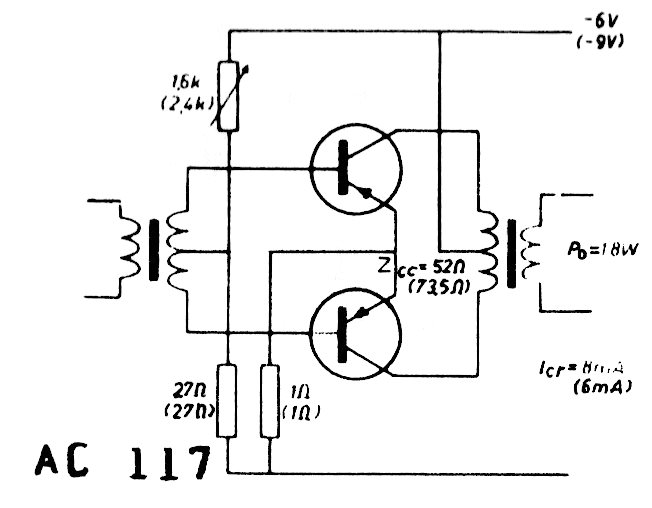
This step is also suitable for the AC188k and SK3004 transistors and was found in a 1980s documentation. Power is on the order of 1.8 W and the circuit currently requires uncommon transformers.
This step is also suitable for the AC188k and SK3004 transistors and was found in a 1980s documentation. Power is on the order of 1.8 W and the circuit currently requires uncommon transformers.