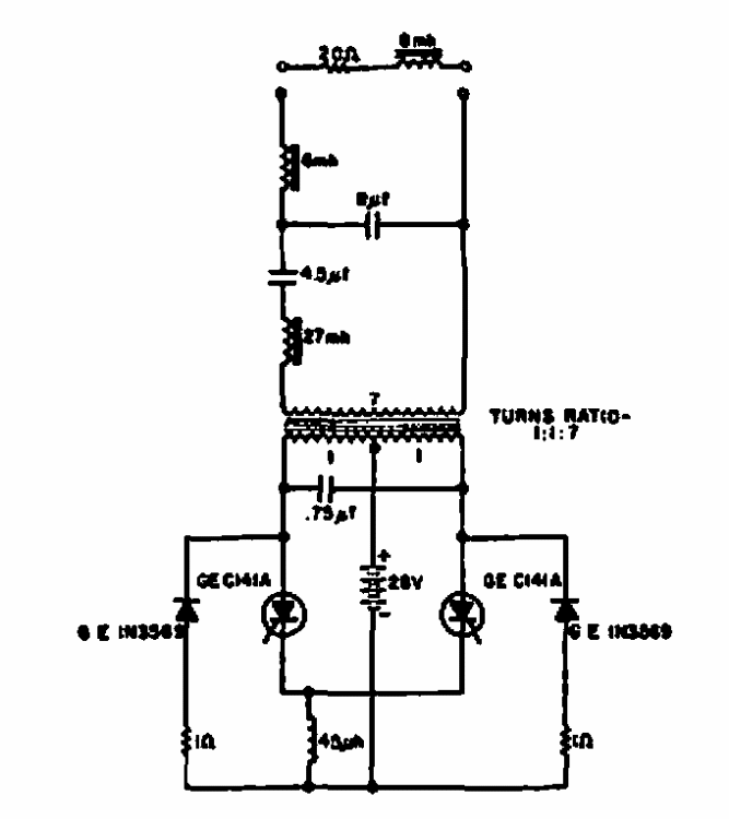
Found in a 1967 publication by General Electric, this SCR circuit generates voltages of 120 VAC at the output. The circuit has an input voltage of 28 V.
This circuit uses only two common transistors and provides good audio power in a speaker. Readers who...
Indicated for telegraphy practice, this circuit was found in the Radio Electronics magazine of...
This circuit appears in other articles and suggestions for circuits in this section from other...