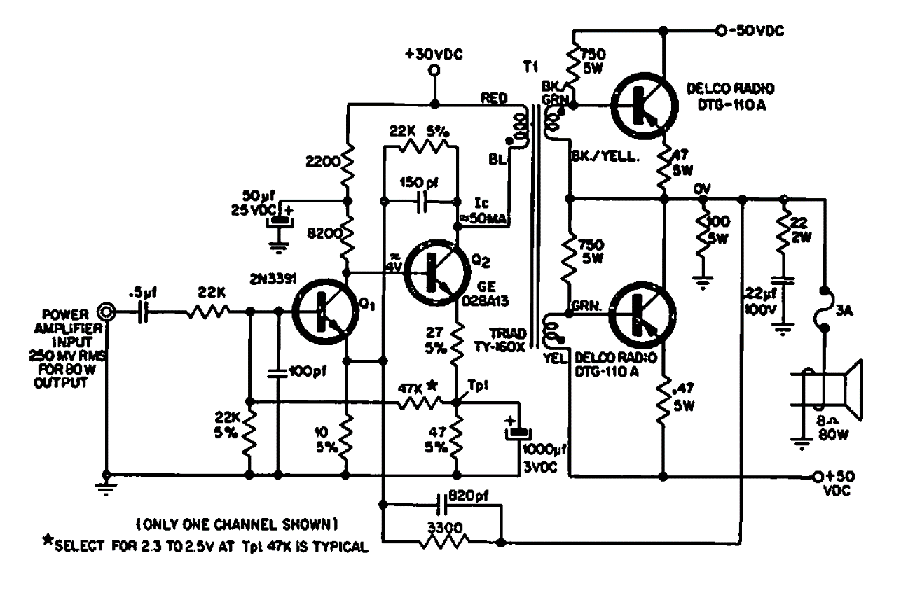
This circuit is from Delco Radio found in a 1968’s documentation. The transistors are of the time and are not given information about the driver transformer. Note the high supply voltage.
This interesting adjustable power supply uses the transistors themselves as controllers and...
This alarm from an old 1978 publication uses PNP transistors and driver and output transformers that are...
This is a typical source of the time (1989) using the well-known regulator integrated circuit 723....