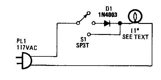
This two-power dimmer appears in several articles on our website. This is from Popular Electronics and should not be used with electronic devices.

This two-power dimmer appears in several articles on our website. This is from Popular Electronics and should not be used with electronic devices.
