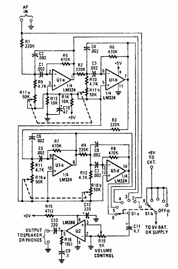
This circuit for low frequencies (bass) was found in a Popular Electronics from the 90s. The circuit can be adjusted for ranges from 500 to 1500 Hz. Applications include reception filters.

This circuit for low frequencies (bass) was found in a Popular Electronics from the 90s. The circuit can be adjusted for ranges from 500 to 1500 Hz. Applications include reception filters.
