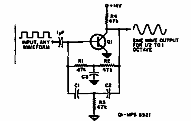
This circuit was obtained from an Electronics World of 1968. The transistor may be general purpose and the frequency is determined by the double T components. The output signal is sinusoidal.

This circuit was obtained from an Electronics World of 1968. The transistor may be general purpose and the frequency is determined by the double T components. The output signal is sinusoidal.
