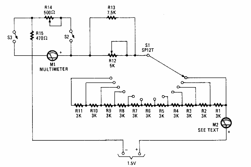
With this circuit from Popular Electronics it is possible to determine the characteristics of a microammeter or common milliammeter using a multimeter.
We found this circuit in an American documentation of the 80's, being indicated for the test of...
This circuit was found in a 2002 publication. It is a circuit that indicates when an extension is being...
This circuit uses an LM3900 transconductance operational amplifier to generate pulses whose...