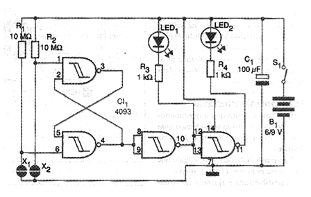
In the figure we have a bistable circuit that activates LEDs from touch rings and turns off data on the sensors. Evidently, the circuit can be easily changed to control higher power loads with the use of transistorized steps by activating relays or directly the loads. Likewise, we can use common NA sensors to apply the circuit to smart controls, alarms, and other similar applications. In this circuit, two of the four ports are used in a flip-flip while the others drive the LEDs. Resistors R1 and R2 determine the sensitivity of the circuit and their values may be increased. The supply can be done with voltages from 6 to 12 V, without problems. Experimental setup can easily be done in a contact matrix. The sensors are two separate metal plates so that they can be touched at the same time.




