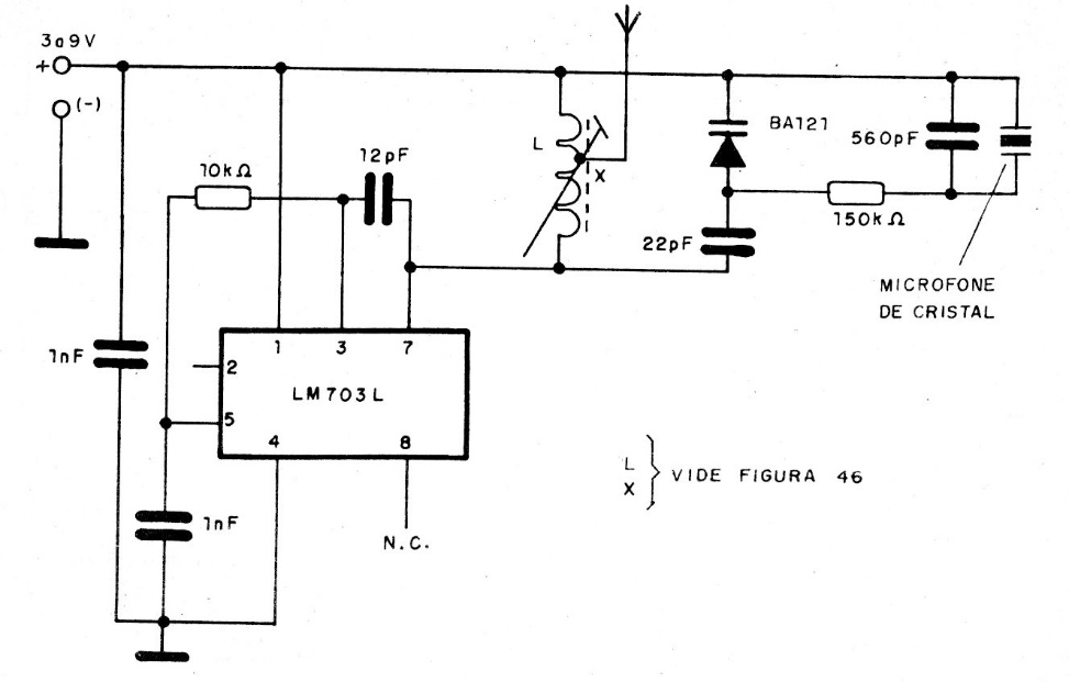
The integrated circuit used in this small spy transmitter is not easy to obtain today. The coil is the same as the CIR12942 and the supply is made by voltages from 3 to 9 V. The microphone can be either ceramic or crystal.
The integrated circuit used in this small spy transmitter is not easy to obtain today. The coil is the same as the CIR12942 and the supply is made by voltages from 3 to 9 V. The microphone can be either ceramic or crystal.