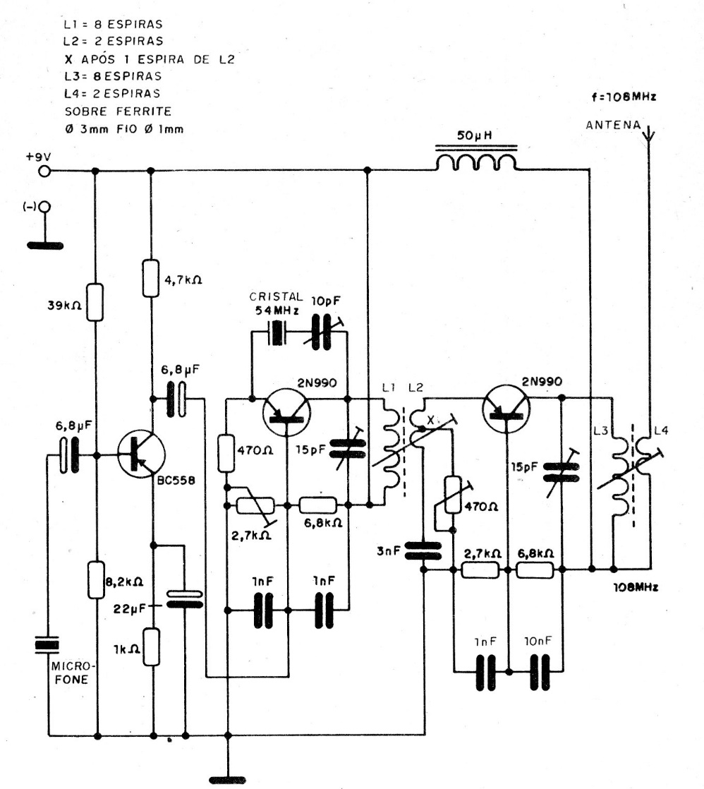
This circuit uses a 54 MHz crystal whose frequency is doubled for operation in 108MHz. The circuit is from an 80s spy book and the transistors admit equivalents. Details of the coils are given in the diagram itself.
This circuit uses a 54 MHz crystal whose frequency is doubled for operation in 108MHz. The circuit is from an 80s spy book and the transistors admit equivalents. Details of the coils are given in the diagram itself.