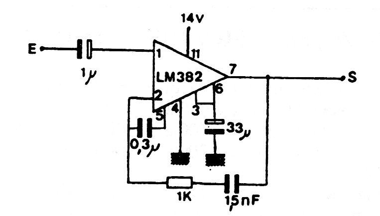
This circuit from the 1980s uses an operational amplifier that is uncommon today. The circuit can be designed with modern operators. The gain is 40 dB.
We found this circuit for an anti-theft radar that operates at 400 MHz in a Radio Electronics from...
In the figure we have a diagram of a thermostat using an NTC and an operational amplifier 741. The...
This version of a call-fish is from 1981 using, for this reason, a 90 V battery that is no longer...