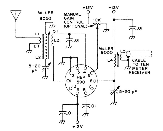
We found this preamplifier for the 10 and 11-meter range in an old documentation for radio amateurs. The integrated circuit used is uncommon today.
We found this circuit in a 1985 technical publication. The circuit uses PUTs to drive lamps....
This high-powered megaphone circuit is from a Radio Electronics from December 1964. Note the use...
This amplifier with differential input uses two old op amps but can be implemented with modern op amps....