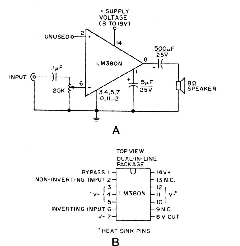
This factory circuit appears elsewhere on this site. This is from a 1975 National technical documentation.
We found this circuit in a 1985 technical publication. The circuit uses PUTs to drive lamps....
This high-powered megaphone circuit is from a Radio Electronics from December 1964. Note the use...
This amplifier with differential input uses two old op amps but can be implemented with modern op amps....