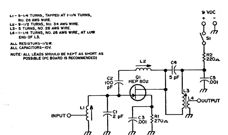
This amplifier for signals in the 2 m range that corresponds to 150 MHz was found in an American documentation from the 1980s. The FET can be a BF245.
This circuit, from ancient French documentation, produces a rectangular pulse from input pulses...
This timer for small intervals, but which can be increased with the increase of R1, was obtained in an...
Found in a 90s Radio Electronics, this circuit can supply currents of a few amps, according to the power...