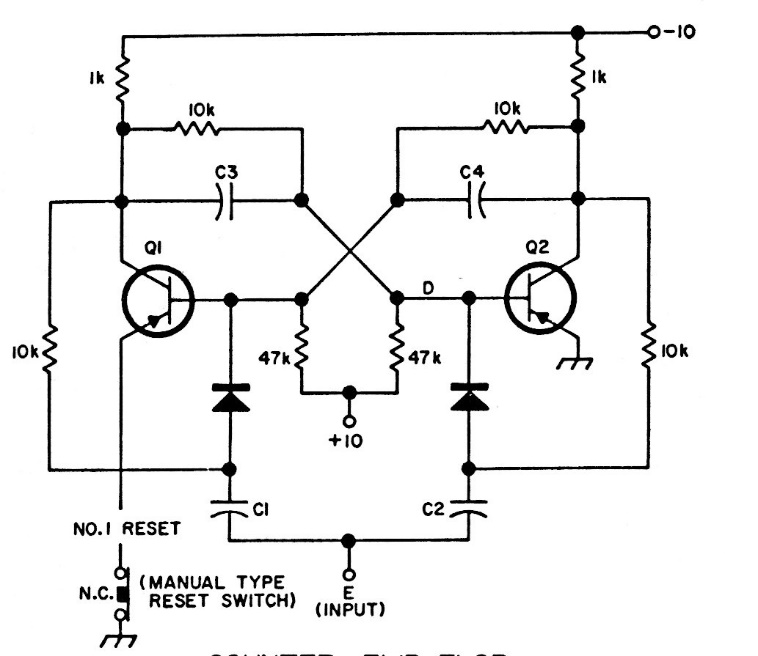
This flip-flop circuit with general purpose transistors was found in American documentation from the 1980s. The maximum operating speed depends on the transistors. Diodes are commonly used.
This touch switch uses components that have easy-to-obtain current equivalents. The power supply...
After starting, this circuit turns off the relay in a time that depends on the 4020 pulse-count. This...
Connected to the output of a small amplifier or receiver, this circuit triggers a relay in the...