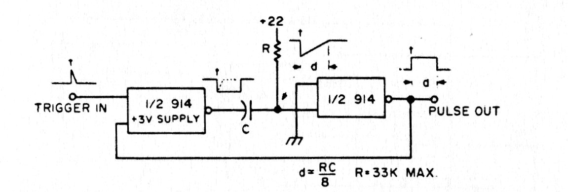
The integrated circuit used in this application is not currently common. The circuit is from an 80's documentation. Its purpose is to generate a single pulse of duration longer than the input trigger.
The integrated circuit used in this application is not currently common. The circuit is from an 80's documentation. Its purpose is to generate a single pulse of duration longer than the input trigger.