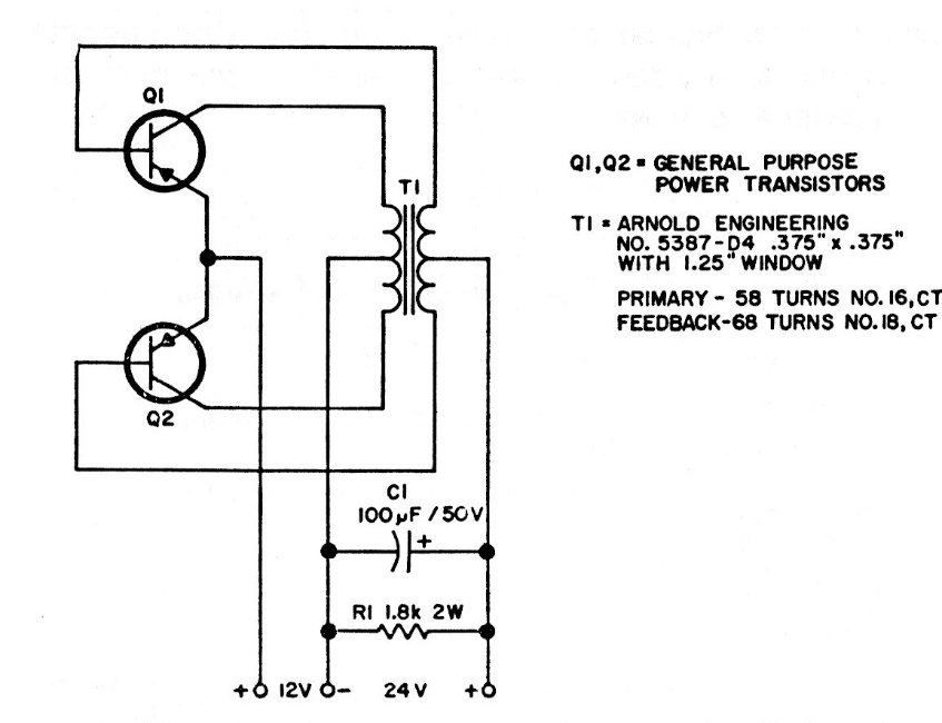
This circuit, with 1 A output, was found in a 1975 documentation. The transistors admit equivalents and the transformer has windings according to the voltages being worked.
This circuit, from ancient French documentation, produces a rectangular pulse from input pulses...
This timer for small intervals, but which can be increased with the increase of R1, was obtained in an...
Found in a 90s Radio Electronics, this circuit can supply currents of a few amps, according to the power...