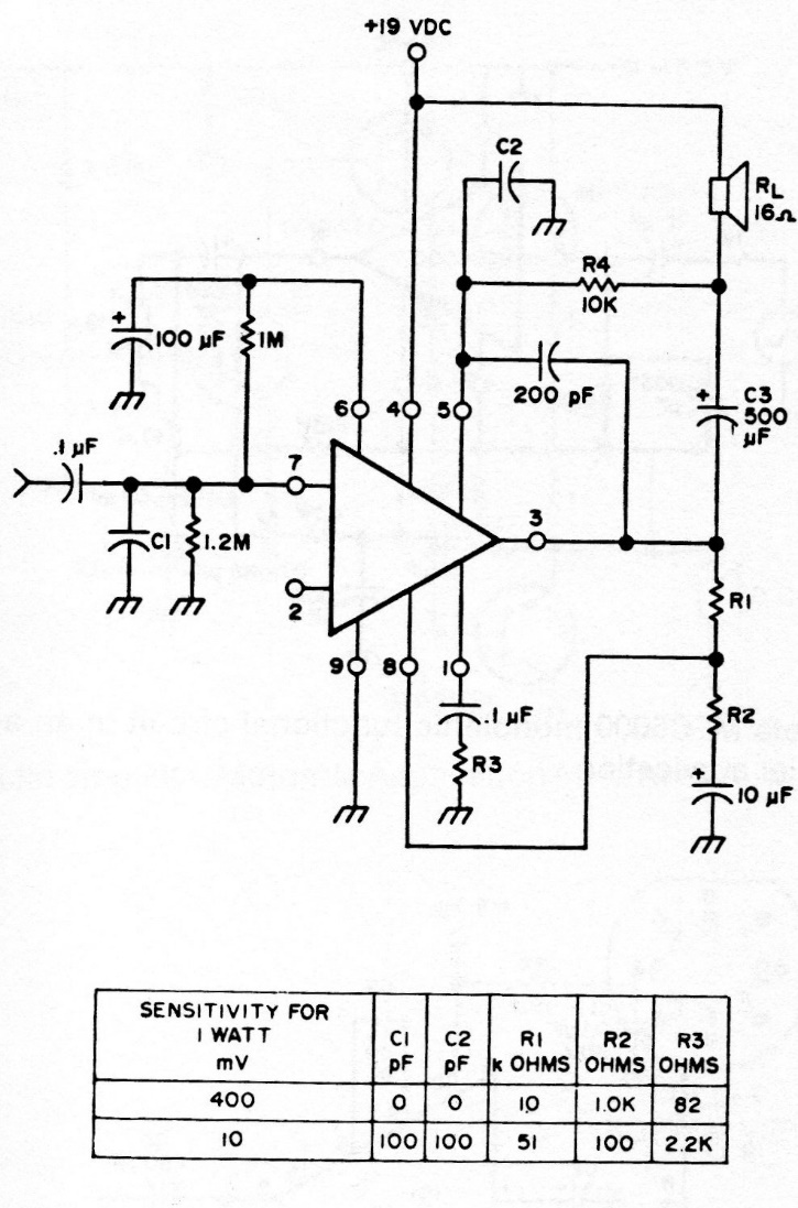
This amplifier uses an integrated circuit from the 70s, which is no longer common on the market. The circuit was used at the time as a sound output stage for televisions.
This touch switch uses components that have easy-to-obtain current equivalents. The power supply...
After starting, this circuit turns off the relay in a time that depends on the 4020 pulse-count. This...
Connected to the output of a small amplifier or receiver, this circuit triggers a relay in the...