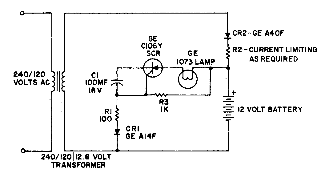
This circuit appears elsewhere in this section, obtained from other documentation. The circuit is for lead-acid batteries and the lamp can be replaced by high brightness LEDs.
This lamp flasher configuration using an astable multivibrator is from a 1968 publication. The...
When the voltage in the circuit exceeds the value set in the trimpot, the LED goes off and, if a...
The maximum input voltage of this circuit is 20V and the output current is 250 mA. The circuit is from...