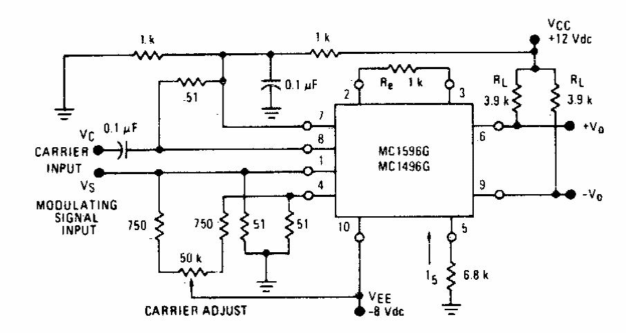
This circuit was obtained in a Motorola manual from the 70s. The integrated circuit is from that time.
This circuit, found in a 90s Popular Electronics, uses a 0 to 1 mA milliammeter, which can be...
This configuration is from a 1966 publication. However, with small changes in component values it can...
I found this circuit in a 1978 publication. The circuit can be assembled with a BD136 transistor to...