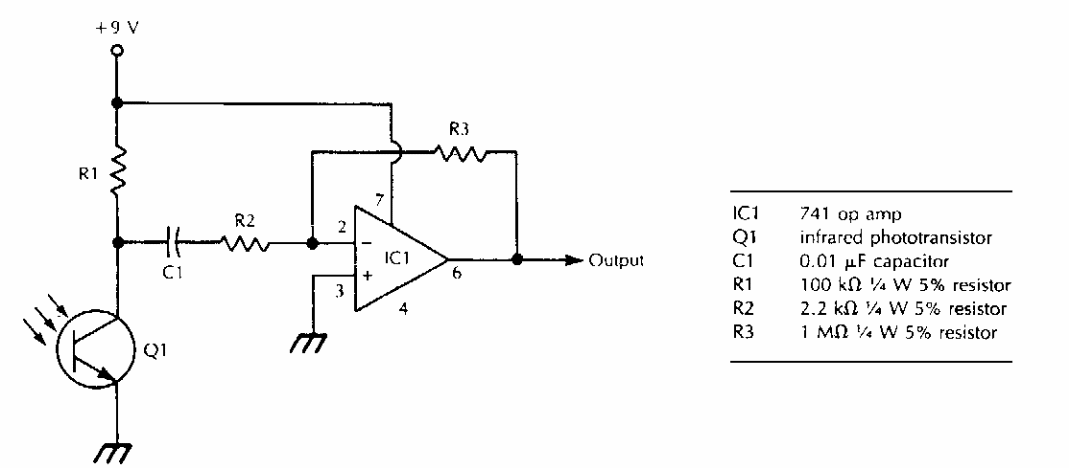
Found in American documentation from the 1990s, this circuit receives modulated infrared signals. The baud rate depends on the operative used. The main application is like audio link.
This flip-flop or bistable was found in a publication about transistors from the 60's. The circuit...
This preamplifier circuit for magnetic cartridges was found in the March 1986 Radio Electronics magazine....
This oscillator was found in a book on transistors from 1954. The transistor is from the time, and...