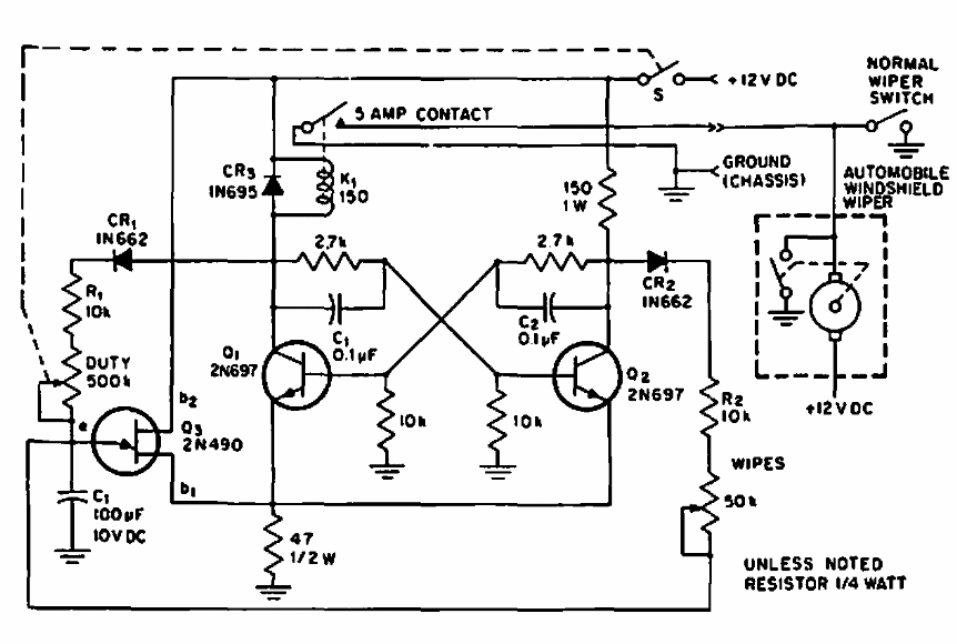
This circuit is from a 1969 EEE magazine. The transistors are from that time, but the circuit can be implemented with modern equivalents, such as 2N2646 for Q3.
This well-known siren configuration using complementary transistors is from a 1980s documentation. The...
This circuit was found in an old American magazine and could make use of more modern components...
This circuit is from the Philips integrated circuits manual of 1990. It is intended for magnetic...