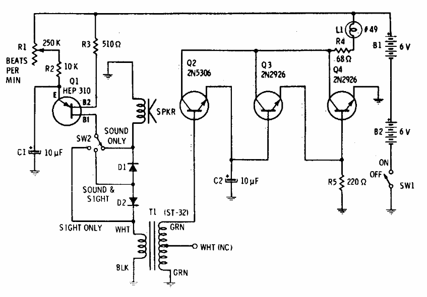
This circuit with its light source was found in American documentation two years 70. Or transformer of the type found in small transistor radios of the time. The transistors are general-purpose.
This circuit converts pulse frequency to current, which is indicated on an analog instrument. The...
Based on an LM317T, this circuit found in Popular Electronics works with signals of frequencies up to...
The Texas Instruments LM5178 Buck-boost controller is capable of operating in the 4.2 to 55 V (60...