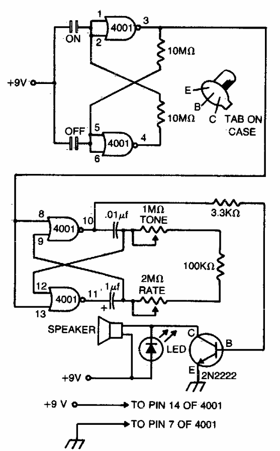
This simple CMOS metronome circuit can be mounted in a small box, providing both sound and light sources.
This well-known siren configuration using complementary transistors is from a 1980s documentation. The...
This circuit was found in an old American magazine and could make use of more modern components...
This circuit is from the Philips integrated circuits manual of 1990. It is intended for magnetic...