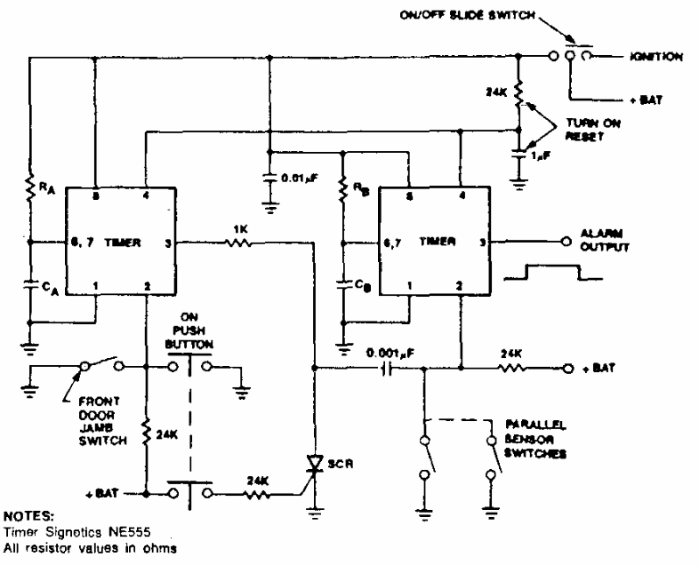
This car alarm was obtained in a Signetics documentation from the 1980s. The circuit uses the 555 and has a pulsed output to activate a relay that controls the horn. The sensors are parallel connected.
This filters blocks radio interference or noise coming from the AC Power line. Noise such as the...
Found in a 90s Popular Electronics, this circuit triggers a relay in case of overvoltage. Can be used as a...
We found this sophisticated home alarm in a 1994 documentation. The circuit supports sensors of...