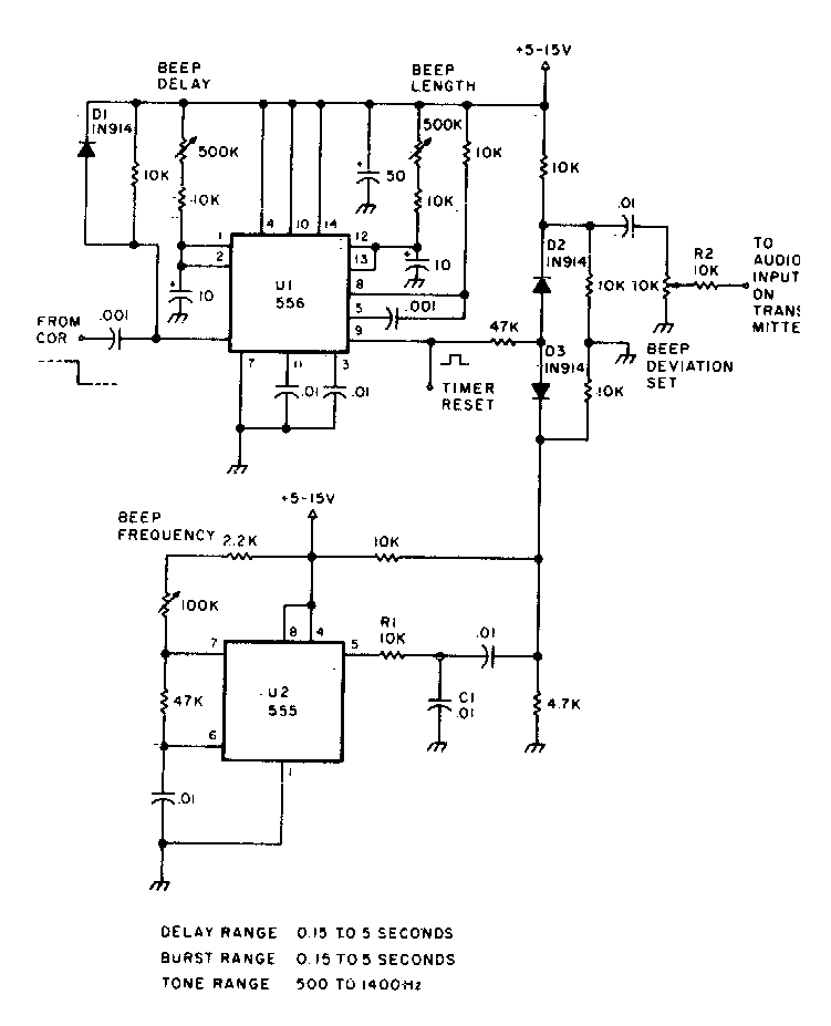
This circuit was found in documentation for radio amateurs of the 1980s. This is the so-called roger-beep, which is the beep that is transmitted when the talk-listen function is changed.
This shield circuit uses a common CMOS port. The voltage depends on the interfaced logic. The...
This logarithmic gain operating configuration was found in the June 1994 Electronics Now magazine. The...
This circuit was found in the Spanish magazine No longer in existence, Mundo Electrónico, in a...