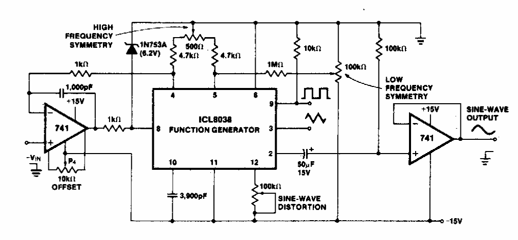
This circuit was obtained in an old documentation. The 8038 integrated circuit is not a common component today.
This shield circuit uses a common CMOS port. The voltage depends on the interfaced logic. The...
This logarithmic gain operating configuration was found in the June 1994 Electronics Now magazine. The...
This circuit was found in the Spanish magazine No longer in existence, Mundo Electrónico, in a...