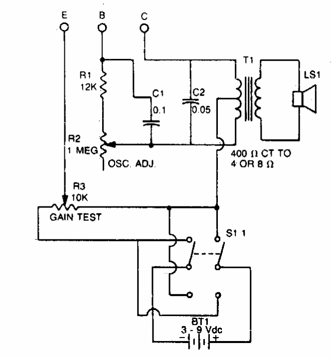
With this circuit it is possible to select transistors and their compliant test. Or circuit consists of an oscillator. Or transformer of the type found in old transistor radios.
When this alarm is off current drained is very low, only about 60 µA. The circuit can be powered...
Varicap or varactor is the basic component used in this circuit of an American 80's documentation. The...
In this circuit of a 1956 publication, the handset must be high-impedance magnetic and L1 has 200...