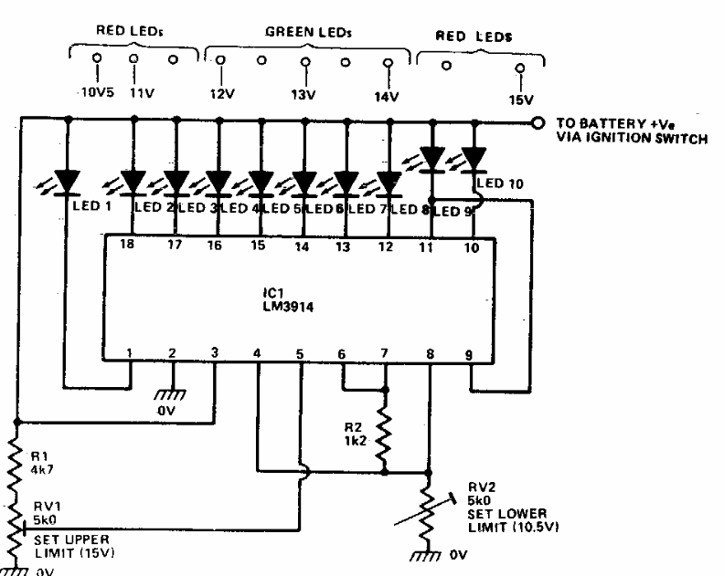
Based on the well-known LM3914, this circuit was found in an old American documentation. Trimpots adjust the scale limits.
This shield circuit uses a common CMOS port. The voltage depends on the interfaced logic. The...
This logarithmic gain operating configuration was found in the June 1994 Electronics Now magazine. The...
This circuit was found in the Spanish magazine No longer in existence, Mundo Electrónico, in a...