This precision reference circuit was found in documentation from the 1980s. It applies to other operational amplifiers. The power supply must be symmetrical.
This shield circuit uses a common CMOS port. The voltage depends on the interfaced logic. The...
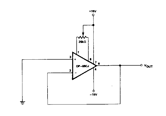
This logarithmic gain operating configuration was found in the June 1994 Electronics Now magazine. The...
This circuit was found in the Spanish magazine No longer in existence, Mundo Electrónico, in a...