This trip switch circuit was found in a Popular Electronics from the 90's. The frequency basically depends on C1 and R1.
This amplifier for distributing audio signals appears in other articles on this website and even...
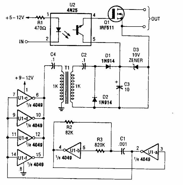
This circuit was found in a 1964 MOSFET applications manual. The circuit uses period general...
This circuit works only with incandescent lamps, timing its activation at intervals that depend on C1....