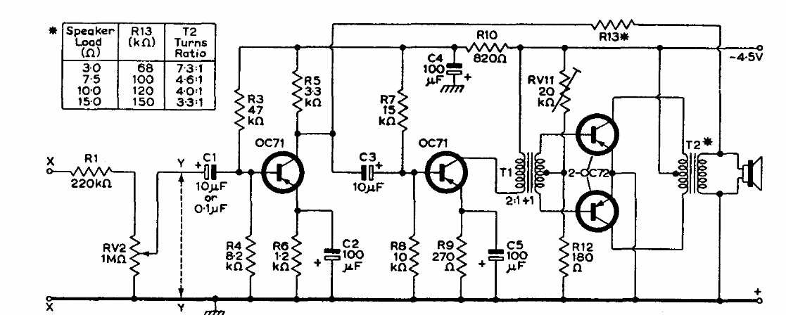
This 4-transistor amplifier can work from 4.5 or 6 V power supplies. We found it in a Mullard transistors manual from 1960. The transistors are from the time.
This amplifier for distributing audio signals appears in other articles on this website and even...
This circuit was found in a 1964 MOSFET applications manual. The circuit uses period general...
This circuit works only with incandescent lamps, timing its activation at intervals that depend on C1....