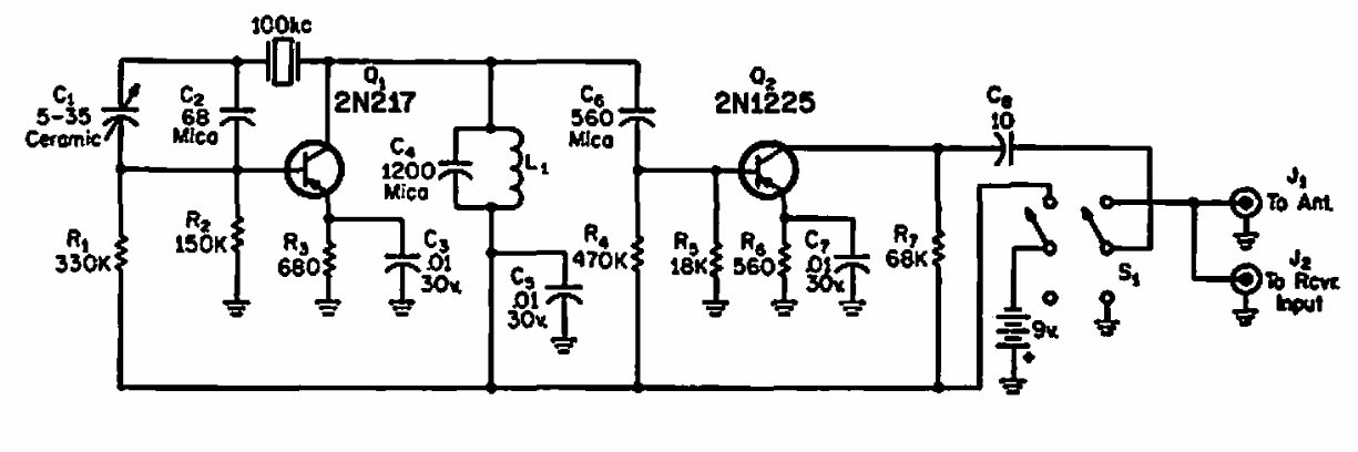
Found in the CQ radio amateur magazine, this circuit generates a standard 100 kHz signal. The circuit is from 1965 and can be made with modern equivalent transistors.
This circuit activates a relay when the sensor receives light. The sensor can be any common LDR,...
We found this circuit in a 1980 documentation. With basic changes, including transistors that were...
When a small air current reaches the piezoelectric sensor, a small audio signal is generated and...