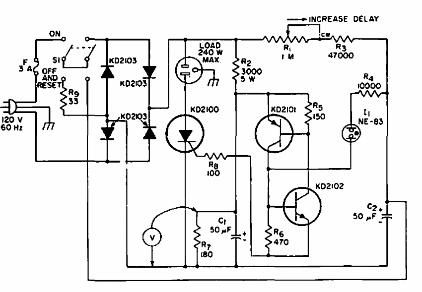
This timer can control loads up to 240 W. We found it in a 1967 RCA documentation. The main components admit modern equivalents.
This amplifier for distributing audio signals appears in other articles on this website and even...
This circuit was found in a 1964 MOSFET applications manual. The circuit uses period general...
This circuit works only with incandescent lamps, timing its activation at intervals that depend on C1....