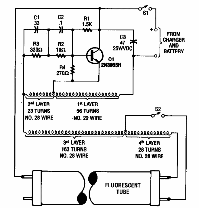
This circuit, with a 12 V input, was found in a Popular Electronics from the 1990s. Information is given about the ferrite-wrapped transformer. The transistor must be mounted on a heatsink.
This temperature compensated circuit was found in a 1980s American documentation. The power supply...
This circuit is an improved version of the previous ones with the LM3914. We found it in the March...
This indicator was found in a 1974 publication, but it can be fitted with the BC548 transistor or...