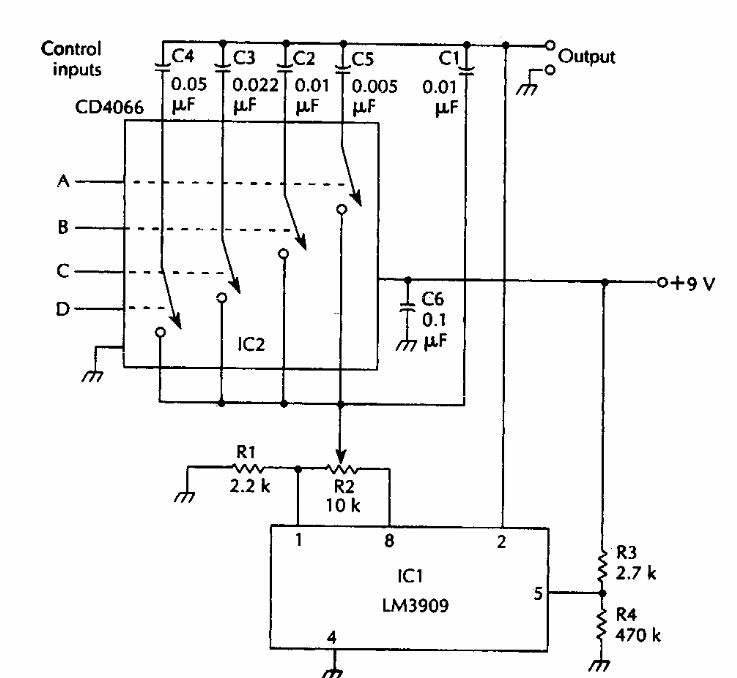
Found in American documentation from the 90s, this circuit has the signal frequency determined by capacitors from C4, C3, C2 and C5 selected by digital switches.
This circuit, from ancient French documentation, produces a rectangular pulse from input pulses...
This timer for small intervals, but which can be increased with the increase of R1, was obtained in an...
Found in a 90s Radio Electronics, this circuit can supply currents of a few amps, according to the power...