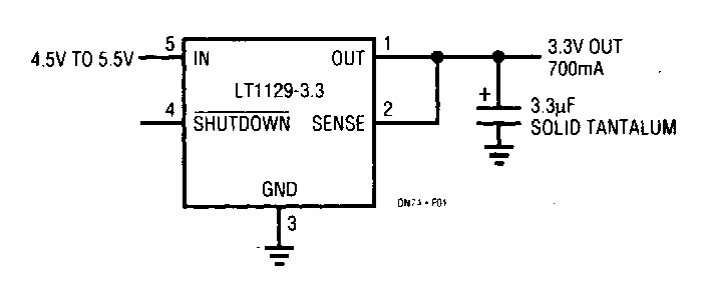
This circuit for 3.3 V logic circuits has a 5 V input and the maximum output current is on the order of 1 A. The circuit is from a Linear Technology manual.
This flip-flop or bistable was found in a publication about transistors from the 60's. The circuit...
This preamplifier circuit for magnetic cartridges was found in the March 1986 Radio Electronics magazine....
This oscillator was found in a book on transistors from 1954. The transistor is from the time, and...